counter stats Mips Block Diagram, Implementing Jump Register Control To Single Cycle Mips Stack Overflow

Mips Block Diagram, Dev Kit Includes Mips Processor Choice Of Touchscreens

  • Configure Pic24e To Run At 70 Mips Page 3 Dew Ninja
  • Organization Of Computer Systems Processor Datapath
  • Mips Editable Diagram Template On Creately
  • Mips Series5 Warrior Cpus The Next Revolution In Processor Ip From Imagination Imagination Technologies Technical Article Chipestimate Com
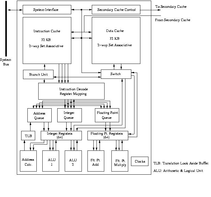
  • Block Diagram Of Mips Processor Download Scientific Diagram
  • Organization Of Computer Systems Processor Datapath
  • First Mips Warrior Processor Targets Device Apps
  • Http Homepage Divms Uiowa Edu Ghosh 6016 90 Pdf
  • Spitzer Mips Instrument Handbook
  • Mips Based Networking Processor Gains Linux Support

Find, Read, And Discover Mips Block Diagram, Such Us:

  • Cse141l Lab 2 Single Cycle Datapath
  • Https Encrypted Tbn0 Gstatic Com Images Q Tbn And9gcscjwdp4vkddezudot5g0t9wcx4cnd7bya8q89352rdmtyxdygz Usqp Cau
  • First Mips Warrior Processor Targets Device Apps
  • Computer Organization Architecture Mips Addressing Mode
  • Welcome Page Open Virtual Platforms

If you are searching for 2014 Passat Tdi Fuse Diagram you've reached the perfect place. We ve got 104 graphics about 2014 passat tdi fuse diagram adding images, photos, pictures, wallpapers, and much more. In such web page, we also provide variety of images out there. Such as png, jpg, animated gifs, pic art, logo, black and white, transparent, etc.

Solved A Block Diagram Of Single Cycle Mips Architecture Chegg Com 2014 Passat Tdi Fuse Diagram

Implementing Jump Register Control To Single Cycle Mips Stack Overflow 2014 Passat Tdi Fuse Diagram

32 Bit 5 Stage Pipelined Mips Processor In Verilog Full Verilog Code For Pipeplined Mips Pipelined Mips Processor In Verilog 32 Bit P Coding Processor Cycle 2014 Passat Tdi Fuse Diagram

Http Homepage Divms Uiowa Edu Ghosh 6016 90 Pdf 2014 Passat Tdi Fuse Diagram

Mips Based Networking Processor Gains Linux Support 2014 Passat Tdi Fuse Diagram

Cs61cl Lab 20 Cpu Design Datapath 2014 Passat Tdi Fuse Diagram

Eel4712 Digital Design Mips Processor Ppt Download 2014 Passat Tdi Fuse Diagram

Github Dtv96calibre Sc Mips A Single Cycle Mips Processor Implemented With Icarus Verilog 2014 Passat Tdi Fuse Diagram

Dev Kit Includes Mips Processor Choice Of Touchscreens 2014 Passat Tdi Fuse Diagram

Pipeline Mem Memory And If Instruction Fetch Stack Overflow 2014 Passat Tdi Fuse Diagram

2014 Passat Tdi Fuse Diagram, Http Homepage Divms Uiowa Edu Ghosh 6016 90 Pdf

  • 100 Pts
  • Https Encrypted Tbn0 Gstatic Com Images Q Tbn And9gcscjwdp4vkddezudot5g0t9wcx4cnd7bya8q89352rdmtyxdygz Usqp Cau
  • Https Encrypted Tbn0 Gstatic Com Images Q Tbn And9gcsj99 Yr2xl6fswd1zu4tc0ycfw9suvlvtlaohsaq2rt5bla5gx Usqp Cau

2014 Passat Tdi Fuse Diagram, Cs61cl Lab 20 Cpu Design Datapath

  • Spitzer Mips Instrument Handbook
  • 32 Bit 5 Stage Pipelined Mips Processor In Verilog Full Verilog Code For Pipeplined Mips Pipelined Mips Processor In Verilog 32 Bit P Coding Processor Cycle
  • Question 13 A Block Diagram Of Mips Architecture I Chegg Com

2014 Passat Tdi Fuse Diagram, Dev Kit Includes Mips Processor Choice Of Touchscreens

  • Organization Of Computer Systems Processor Datapath
  • Configure Pic24e To Run At 70 Mips Page 3 Dew Ninja
  • Vector Accelerator For Mips Architecture Diglab

More From 2014 Passat Tdi Fuse Diagram


Incoming Search Terms:

  • Solved A Block Diagram Of Single Cycle Mips Architecture Chegg Com 2014 Mustang Fuse Box Diagram,
  • Computer History The Control Data 4380 Museum Waalsdorp 2014 Mustang Fuse Box Diagram,
  • Mips Processor Alexander Soto 2014 Mustang Fuse Box Diagram,
  • Http Homepage Divms Uiowa Edu Ghosh 6016 90 Pdf 2014 Mustang Fuse Box Diagram,
  • Chapter 5 The Mips Architecture 2014 Mustang Fuse Box Diagram,
  • Organization Of Computer Systems Processor Datapath 2014 Mustang Fuse Box Diagram,